模切网首页
人才市场
模切货源
厂商资料
模切商城
模切团购
人工询价
资讯中心
完善并刷新个人简历
升级VIP会员!
欢迎
游客
,
注册
|
登录
|
会员
|
界面
|
简洁版本
|
在线
|
帮助
模切论坛
模切论坛
模切行业论坛
『 模切技术讨论 』
给点难度大家
本主题被查看71551次, 共18个帖子, 1页, 当前为第
1
页 选择页数: 1 跳转到第
页
上一主题
下一主题
标题: 给点难度大家
gd2go
M鸿傣Q
中级模切
UID: 619
来自: 东莞
精华:
0
积分: 280
帖子: 270
注册: 2007/8/6 0:04:00
状态:
离线
威望: 10.00
金钱: 30.45 元
发短消息
用户资料
树型
回复
引用
只看楼主
2007-10-13 21:46
给点难度大家
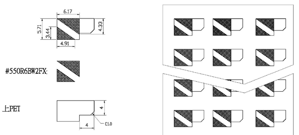
附件产品材料为积水550,要求用模切机,非圆刀,效率要高,看各位如何设计此工艺.
Thanks & Regards! --- 不经历风雨,怎么见彩虹---
#1
大
中
小
gd2go
M鸿傣Q
中级模切
UID: 619
来自: 东莞
精华:
0
积分: 280
帖子: 270
注册: 2007/8/6 0:04:00
状态:
离线
威望: 10.00
金钱: 30.45 元
发短消息
用户资料
树型
回复
引用
只看楼主
2007-10-15 22:56
回复:给点难度大家
怎么不见**个人上来交流呢.不管是快的还是慢的,都不妨说**说
Thanks & Regards! --- 不经历风雨,怎么见彩虹---
#2
大
中
小
549751975
模切技术团队成员
UID: 141
来自:
精华:
0
积分: 118
帖子: 108
注册: 2007/4/28 9:56:00
状态:
离线
威望: 10.00
金钱: 12.85 元
发短消息
用户资料
树型
回复
引用
2007-10-16 11:57
回复:给点难度大家
每天100K怎样?
#3
大
中
小
kidding
小乔治
模切技术团队成员
UID: 323
来自:
精华:
0
积分: 190
帖子: 175
注册: 2007/6/12 16:39:00
状态:
离线
威望: 10.00
金钱: 21.85 元
发短消息
用户资料
树型
回复
引用
2007-10-16 12:53
回复: 给点难度大家
引用:
原帖由
gd2go
于 2007-10-13 21:46:00 发表
附件产品材料为积水550,要求用模切机,非圆刀,效率要高,看各位如何设计此工艺.
[attachimg]280[/attachimg]
先说说你自己怎么做的啊.然后才给意见.嘿嘿
MSN:xiaoqiaozhi@hotmail.com
#4
大
中
小
tiger2196
滴水不息
模切新手
UID: 1171
来自:
精华:
0
积分: 25
帖子: 15
注册: 2007/10/16 11:51:00
状态:
离线
威望: 10.00
金钱: 2.65 元
发短消息
用户资料
树型
回复
引用
2007-10-16 14:32
回复:给点难度大家
沙发!
#5
大
中
小
gd2go
M鸿傣Q
中级模切
UID: 619
来自: 东莞
精华:
0
积分: 280
帖子: 270
注册: 2007/8/6 0:04:00
状态:
离线
威望: 10.00
金钱: 30.45 元
发短消息
用户资料
树型
回复
引用
只看楼主
2007-10-17 19:00
回复:给点难度大家
用手工退中间斜线部分胶纸耗工时太多.此部分冲全断,保留废料,耳机处将胶纸冲半断并退掉,模具做成类似走步模,有定位孔.**二步冲外形.本人愚昧,不知有无发达明白.
Thanks & Regards! --- 不经历风雨,怎么见彩虹---
#6
大
中
小
wanghailong168
老虎
模切技术团队成员
UID: 457
来自:
精华:
0
积分: 198
帖子: 188
注册: 2007/7/9 15:18:00
状态:
离线
威望: 10.00
金钱: 10.70 元
发短消息
用户资料
树型
回复
引用
2007-10-18 13:54
回复:给点难度大家
还不错!
#7
大
中
小
wanghailong168
老虎
模切技术团队成员
UID: 457
来自:
精华:
0
积分: 198
帖子: 188
注册: 2007/7/9 15:18:00
状态:
离线
威望: 10.00
金钱: 10.70 元
发短消息
用户资料
树型
回复
引用
2007-10-18 14:06
回复:给点难度大家
用双座机好做:
1.A板切废料全切.同时切耳朵部分半切.(做个小制具.排废料.贴合PET)
2.B 板切套切外形.排费直接打包.
#8
大
中
小
zengerqin
SOU
中级模切
UID: 29
来自: 广东深圳
精华:
0
积分: 340
帖子: 330
注册: 2007/3/12 9:43:00
状态:
离线
威望: 10.00
金钱: 37.90 元
发短消息
用户资料
树型
回复
引用
2007-10-18 16:12
回复: 给点难度大家
应该不是很难吧,二工序解决:**将空白处全切,(模具设计时将斜线空白处和耳朵处连成**体)用QDC模具解决排废问题.
二将外形半切即可.难度主要在**工序.
#9
大
中
小
gd2go
M鸿傣Q
中级模切
UID: 619
来自: 东莞
精华:
0
积分: 280
帖子: 270
注册: 2007/8/6 0:04:00
状态:
离线
威望: 10.00
金钱: 30.45 元
发短消息
用户资料
树型
回复
引用
只看楼主
2007-10-18 23:23
回复:给点难度大家
楼上所说的QDC模具是怎么样的模具,请赐教,是否在产品两头各加上**刀?
Thanks & Regards! --- 不经历风雨,怎么见彩虹---
#10
大
中
小
gd2go
M鸿傣Q
中级模切
UID: 619
来自: 东莞
精华:
0
积分: 280
帖子: 270
注册: 2007/8/6 0:04:00
状态:
离线
威望: 10.00
金钱: 30.45 元
发短消息
用户资料
树型
回复
引用
只看楼主
2007-10-18 23:34
回复: 给点难度大家
引用:
原帖由
wanghailong168
于 2007-10-18 14:06:00 发表
用双座机好做:
1.A板切废料全切.同时切耳朵部分半切.(做个小制具.排废料.贴合PET)
2.B 板切套切外形.排费直接打包.
用双座机,以前在台资厂用过,但感觉材料经过A板冲切后,若材料中间有气泡或拱起时,到B板冲切时易偏位,不知现在的定位防偏系统改善及应用怎么样.
Thanks & Regards! --- 不经历风雨,怎么见彩虹---
#11
大
中
小
ilovexiemiao
模切会员
UID: 1229
来自:
精华:
0
积分: 62
帖子: 52
注册: 2007/10/20 14:46:00
状态:
离线
威望: 10.00
金钱: 6.35 元
发短消息
用户资料
树型
回复
引用
2007-10-29 14:07
回复: 给点难度大家
引用:
原帖由
wanghailong168
于 2007-10-18 14:06:00 发表
用双座机好做:
1.A板切废料全切.同时切耳朵部分半切.(做个小制具.排废料.贴合PET)
2.B 板切套切外形.排费直接打包.
请教下你,
1.A板切废料全切.同时切耳朵部分半切.(做个小制具.排废料.贴合PET).废料全切怎么排废?小治具怎么个做发(可否发图纸上来).有切耳朵,有切废料,那耳朵的费在机器上有怎么排?
可否详细说名下,在下愚昧.
#12
大
中
小
昆山圆刀
模切技术团队成员
UID: 178
来自:
精华:
0
积分: 154
帖子: 144
注册: 2007/5/10 8:27:00
状态:
离线
威望: 10.00
金钱: 15.95 元
发短消息
用户资料
树型
回复
引用
2007-10-29 17:00
回复:给点难度大家
不了解550R材质,本人主要难点在**二冲对位问题。正常A模半切排废,复PET,B冲切外型。此把刀不敢说!
#13
大
中
小
昆山圆刀
模切技术团队成员
UID: 178
来自:
精华:
0
积分: 154
帖子: 144
注册: 2007/5/10 8:27:00
状态:
离线
威望: 10.00
金钱: 15.95 元
发短消息
用户资料
树型
回复
引用
2007-10-29 17:00
回复:给点难度大家
不了解550R材质,本人主要难点在**二冲对位问题。正常A模半切排废,复PET,B冲切外型。此把刀不敢说!
#14
大
中
小
昆山圆刀
模切技术团队成员
UID: 178
来自:
精华:
0
积分: 154
帖子: 144
注册: 2007/5/10 8:27:00
状态:
离线
威望: 10.00
金钱: 15.95 元
发短消息
用户资料
树型
回复
引用
2007-10-29 17:00
回复:给点难度大家
不了解550R材质,本人主要难点在**二冲对位问题。正常A模半切排废,复PET,B冲切外型。此把刀不敢说!
#15
大
中
小
昆山圆刀
模切技术团队成员
UID: 178
来自:
精华:
0
积分: 154
帖子: 144
注册: 2007/5/10 8:27:00
状态:
离线
威望: 10.00
金钱: 15.95 元
发短消息
用户资料
树型
回复
引用
2007-10-29 17:00
回复:给点难度大家
不了解550R材质,本人主要难点在**二冲对位问题。正常A模半切排废,复PET,B冲切外型。此把刀不敢说!
#16
大
中
小
昆山圆刀
模切技术团队成员
UID: 178
来自:
精华:
0
积分: 154
帖子: 144
注册: 2007/5/10 8:27:00
状态:
离线
威望: 10.00
金钱: 15.95 元
发短消息
用户资料
树型
回复
引用
2007-10-29 17:00
回复:给点难度大家
不了解550R材质,本人主要难点在**二冲对位问题。正常A模半切排废,复PET,B冲切外型。此把刀不敢说!
#17
大
中
小
gd2go
M鸿傣Q
中级模切
UID: 619
来自: 东莞
精华:
0
积分: 280
帖子: 270
注册: 2007/8/6 0:04:00
状态:
离线
威望: 10.00
金钱: 30.45 元
发短消息
用户资料
树型
回复
引用
只看楼主
2007-10-29 20:22
回复:给点难度大家
楼上用的是圆刀,圆刀没试用这样的产品.此类产品我们做都是有定位孔,***冲的时候就先冲出来.
Thanks & Regards! --- 不经历风雨,怎么见彩虹---
#18
大
中
小
本主题被查看71551次, 共18个帖子, 1页, 当前为第
1
页 选择页数: 1 跳转到第
页
论坛跳转...
模切行业论坛
『 模切行业纵览 』
『 模切技术讨论 』
『 模切材料专区』
『 模切技术动态 』
『 模切相关技术与动态 』
『模切技术团队版块』
『 光电模切专区 』
『模切学院版块』
论坛服务
『 人才市场 』
『 供求交易 』
『 社区服务 』
『 论坛公告及会员必读 』
现在的时间是 2025-10-28 11:22:22
关于我们
|
VIP会员服务
|
广告服务
|
隐私声明
|
服务条款
|
网站地图
|
联系我们
|
友情链接
|
帮助中心
© 模切网版权所有 不得转载
粤ICP备07017347号